Mit RFID-Chip und personengebundenen Spielen gegen den Handel von Gebrauchtspielen und illegale Kopien? Ein von Sony Computer Entertainment Japan bei der US-amerikanischen Patentbehörde eingereichter Antrag beschreibt genau eine solche Technologie. Ob das System überhaupt zum Einsatz kommen wird, steht derzeit in den Sternen. Wenn ja, so dürfte eine Implementierung in die kommende PlayStation 4 allerdings umso wahrscheinlicher sein. Einige Fragezeichen bleiben.
Chip auf dem Datenträger – personengebundene Spiele
Es ist nur der Antrag auf die Vergabe eines Patents. Das muss nichts heißen. Insbesondere in der Informationstechnologie, betrachtet man beispielsweise alleine die Masse an nie am Markt genutzten Patenten so manches Elektronikriesen. Dennoch ist es interessant, in welche Richtung die Forschung und Entwicklung bei Sony derzeit geht, wenn es um die Themen Schwarzkopie und ungeliebten Gebrauchtspielehandel geht. Der am Donnerstag dieser Woche von der amerikanischen Patentbehörde veröffentlichte Antrag beschreibt eine neue Art des digitalen Rechtemanagements (DRM), speziell zugeschnitten auf Spielkonsolen.
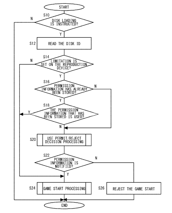
In den Hintergründen heißt es, DRM sei eine Technologie zur Begrenzung von unlimitiertem Kopieren elektronischer Inhalte – der Erfinder, in diesem Falle Sony, habe allerdings vernommen, dass Fälle existierten, bei denen es schwer sei die Benutzung der auf einem Speichermedium wie einer DVD enthaltenen Inhalte einzuschränken. Will heißen: man hat bisher keinerlei Kontrolle darüber, wo und in wie vielen Lesegeräten das Medium letztlich zum Einsatz kommt. Das vorliegende Patent setzt genau dort an. Aber wie?
Sony schlägt mit dem Patent einen völlig neuen Weg ein, indem ein erworbenes Medium mit Hilfe einer ID an den Käufer gebunden wird. Denkbar wäre ein integrierter RFID-Chip auf CD, DVD oder Blu-Ray, der beim ersten Einlegen in ein Lesegerät die Benutzer-ID speichert und folglich an genau dieses eine Lesegerät bindet. Wird der Datenträger anschließend in einem anderen kompatiblen Lesegerät eingelesen, bringt der Abgleich der Besitzer-ID zu Tage, dass das Medium hier nicht zuhause ist. Der Start wird verweigert. In dem Dokument wird nicht nur auf den Markt der Konsolen verwiesen, so ist auch der Einsatz auf anderen auswechselbaren Speichermedien denkbar.
Zur Durchsetzung muss eine neue Plattform her
Da es sich um ein äußerst komplexes System aus Benutzer-ID und Spezial-Medium mit möglicherweise kombinierter Online-Abfrage handelt, drängt sich die logische Folge auf, dass eine entsprechend kompatible Umgebung ganz neu entstehen muss. Denn wer kauft schon eine Blu-Ray oder Musik-CD mit dem neuen Kopierschutz, wenn der eigene Abspieler damit nicht zurechtkommt? Wohl niemand. Mit der Einführung der PlayStation 4 könnte ein solches geschlossenes, neuartiges System allerdings sehr einfach und schnell verbreitet werden. Die Konsole müsste ihren Weg ohnehin in die Wohnzimmer der Gamer finden, wenn diese denn Zocken wollten. Keine Bestandsgeräte würden ausgetauscht. Ein abgesteckter Mikro-Kosmos entstünde, reguliert vom neuen ID-gesteuerten Tausch- und Kopierschutz.
Die breite Einführung des beschriebenen Sicherheits-Systems würde durchzechte Zockernächte bei Freunden, den Handel mit gebrauchten Spielen und somit sogar ganze Märkte zerstören. Doch wie schon erwähnt: Es ist der Antrag auf ein Patent. Nicht mehr. Noch nicht. Am Ende liegt es an Sony, wie mit dem erteilten Schutzrecht verfahren wird. Schließlich gibt es noch Microsoft und Nintendo, für deren Konsolen so neben dem Vergleich von Grafikleistung, Preis und Spiele-Angebot ein ganz neues Kaufargument in die Segel geblasen würde – Freiheit. Am Ende reguliert der Markt sich selbst. Es heißt also: abwarten.













